Additional Information on
PC-Nikkor 35mm f/3.5, 35mm f/2.8 lenses

 
File size: 57k HTML file loading ....


PC lens by Pacific Camera.jpg (43k) Loading ....

Credit: Image courtesy of Mr Mike Otto® <staff@pacificrimcamera.com> URL: Pacific Rim Camera, who also operates a popular Ebay Store. Image Copyright © 2003. All rights reserved. Pacific Rim camera can also be reached at Pacific Rim Camera 1965 Davcor St SE Salem, OR 97302 (503) 370-7461 Fax number is (503) 370-8301
Nikon PC-Nikkor 35mm f/3.5

Introduced in 1962 as a special application lense - while it may carry another objective in expanding capabilities and widen the appeal of 35mm reflex SLR photography which was still considered at its infancy stage back during early '60.

The successful debut of this lens was considered as an optical breakthrough. For the first time, a 35mm reflex camera was able to offer the shift feature previously found only in large format cameras. It offered the ability to shift the optical portion of the lens 11mm off center, and rotate the lens so the shift could be effected in any direction. This is especially helpful in architectural photography to include an entire building in a photo without tilting the camera upwards, which causes the vertical lines to converge. This has helped Nikon to strengthen its footing further with the Nikon F system.

It was also the first Nikkor lense that enables 35mm users to have some form of control over perspective in photography. The PC-Nikkor permits photography of fairly extensive subjects without tilting or inclining the camera. It provides a facility never before possible, except with large view cameras equipped with swings and tilts and a movable lens board. Its optical design comprises of a straight forward 7 elements in 6 group retrofocus design and eliminate the needs to mirror lock camera and use auxiliary finder for shooting. NOTE: Nikon Japan website also has a few articles relating to development of PC-Nikkor lenses where you can read more about to it. Secondly, our friend, Lars has also sent me an URL relating to Instruction Manual for the early version of the PC-Nikkor.

35f28nonAIg.jpg 35f28nonAIf.jpg
Credit: Two additional views of this hard-to-find early series PC-Nikkor lense were contributed by a Ebay seller who wants his identity withheld. Wish to take this opportunity to thank him (BOB) for his contributions. Images have been retouched slightly for this page.

Barely larger than a comparing 3.5cm f/2.8-16 Nikkor-S Auto wideangle lense physically, this PC-lense also can focus down to a similar minimum distance of 0.3m. The scallop design focusing ring is positioned after two rings at the front and locates at the center. It is quite a narrow grip and uncomfortable to handle. This compact PC lense weighs 290g -heavier than a comparing faster 35mm f/2.8 prime wideangle lense as there are more mechanical parts in its assembly such as the addition of an all metal rigid shift plate and the side-mounting screw. This PC-Nikkor 1:3.5 f=35mm has no automatic diaphragm and has to preset the diaphragm manually. The aperture ring is located at the foremost ring with aperture scales from f/3.5 to f/22 imprinted on the outer section of the silver-coloured chrome front filter rim (the lens data was re-positioned to the metal shift plate instead). The three rings with varying texture for gripping (Aperture preset, Stopped down and focusing) are similar to those with subsequent f/2.8 version (see picture below).

35mmPColdgrip.jpg (23k) Loading ...
Comparing to subsequent version, this early PC lense is more simpler in its overall features with a clearer layouts. Perhaps it was the only Nikkor among all early series of Nikkor lenses that uses millimetres "mm" instead of "cm" in its lens data inscriptions. This is essential because the engraved markings for displacement of lens is also measured in "mm" and up to 11 millimetres can be adjusted in any direction - horizontal, vertical or diagonal. This retrofocus Nikon lense has quite a large piece of front lens elements despite it has a relatively slower maximum aperture of f/3.5 but it shares a similar standard 52mm filter attachment size with other Nikkors from 20mm to 200mm focal lengths. This rare, early original version of the PC-Nikkor lense is a "hot" item and highly desired by collectors.

35mm f/2.8 PC-Nikkor

The first version of the PC-Nikkor has a slight flaw in its basic design, the shift plate is being designed to close and obstructing a perfect match if attempting mount any Nikon Photomic metered finders on a Nikon F. It restricts flexibility and only selective non-metered finders such as eyelevel and waist-level viewfinders can be used efficiently. So a subsequent remodeled PC-Nikkor lense was introduced in 1968 as replacement. It has a faster lens speed of f/2.8 which has improved viewfinder brightness considerably for easy focusing and picture composing. However, Nikon has not improved on its overall cosmetic design of this lense with its scalloped focusing ring and finely ridged aperture and aperture preset ring sections where each individual ring being designed with a different grip texture to differentiate the feel during shooting.

PC35mmf28A.jpg PC35mmf28B.jpg PC35mmf28C.jpg PC35mmf28D.jpg
Credit: FIVE additional superb views of this PC-Nikkor lense contributed by Mr. James B Skates Jr. ® <jim@citizensphoto.com> website: www.citizensphoto.com. Click on thumbnails for an enlarged view.

" .... Nikkor 35mm f:/2.8 PC Original lens SER# 85309X: This lens has a unique Perspective Control system that allows you to shift the center of the lens in several directions to correct perspective. That kind of system is common in large format cameras. Never again images with sharp perspective building that looks as they are going to fall, this lens will make building appears almost fully parallel in your images...."
35f28nonAIa.jpg (36k) Loading .. 35f28nonAIb.jpg (38k) Loading ...
Credit: Original Images courtesy of the seller - a passionate Nikon user (identity withheld). Image copyright © 2003, All rights reserved. Please respect the visual property of the contributing photographer.

The apertures have been extended on both ends, from f/2.8 to a useful f/32 in extending depth of field control - critical for its nature. The optical composition was rearranged in a new 8 elements in 7 groups design. Probably only supplied in an all matte finish outfit, with lens data moved to the inside section of the filter rim in a circular format and it has few aperture scales printed in colours (green for f/2.8, pink for f/8.0, yellow for f/16 and blue for f/32) corresponding to the depth of field indicators engraved next to the focusing index.

35mmPCF2A.jpg
Picture shown a version that marketed around 1978
referencemap.jpg (32k) Loading ... 35PColdoptic.gif (4k)

<<< --- Credit: This reference map was based on a contributing image to re-edit. Original picture courtesy of Mr. John Gong® <r7slr@yahoo.com> . Image Copyright © 2003. All rights reserved.
35f28nonAIe.jpg (32k) Loading ...
The PC-Nikkor is wideangle lens of retrofocus design, it incorporates the lens shifting feature for control of image perspective. It is also extremely useful in architectural, industrial and commercial photography and where perspective compensation in enlarging the negative is difficult. In the PC-Nikkor, a micrometer lead screw control permits moving the optics off-center as much as 11 mm. The effect is the same as is produced on a view camera having a 3-inch rise and equipped with a 9-1/2-inch lens. Relative: Canon FD 35mm f/3.5 TS SSC with true TILT and SHIFT functions.

<<< --- Credit: Image courtesy of contributor (identity withheld). Image copyright © 2003, All rights reserved. Image has been retouched slightly to reduce the yellow tint from the original source.
The entire lens mount rotates so that correction can be made in any direction - horizontal, vertical or diagonal. There are 12 click-stop graduations positioned at 30° intervals. In the normal position, the lens is also an effective intermediate wideangle with an angle of view of 62°. In the illustrations above, the angles of view between a standard 35mm lens and the PC-Nikkor are compared with a 35mm film frame outlined. The weight of this version has increased considerably to 335g and due to its more likely nature in specialty photography, the use of the multiple-grids outlined Type E focusing screen is always recommended.

35mmPColdfront.jpg 35f28nonAId.jpg
Specifications:

Focal length: 35mm
Max. aperture: 1:2.8
Lens construction: 8 elements in 7 groups

Credit: Image at far left courtesy of Mr. John Gong® <r7slr@yahoo.com>. Image at right from another contributor who does not want to be named. Images Copyright © 2003. All rights reserved.

Picture angle: 62° at infinity
Distance scale: Graduated both in meters and feet up to 0.3m and 1 feet to infinity (
OO)
Aperture scale: f/2.8 - f/32
Aperture diaphragm:
Manual Preset

PC35oldscaneMDM.jpg (31k) Loading ..

35mmPCoptic2.gif (8k) Loading .......

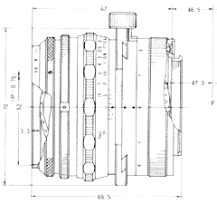
Attachment size: 52mm (P=0.75)
Filter: 52mm screw-in
Hood: HN-1
Dimensions: 70mm dia. x 66.5mm length (2-3/4 in. x 2-5/8 in.)
Weight: 335g (11.8 oz)

<<<--- Click to view an ENLARGED image

Accessories: 52mm Snap-On front cap (108 - 00 - 400); rear cap type F (108 - 00 - 401), Leather case (108 - 03 - 304), 52mm screw-in lens hood (108 - 01 - 201), flexible pouch No. 51 (108 - 00 - 302. Nikon Product Code No. used for this lens: 108-03-112. Note: Serial number(s) for this version may have been started with 851001

oldspecialgroup.jpg (30K) loading ...
| Main Index Page | NEXT |
Nikon 35mm PC-Nikkor lenses
1/2

PC-Nikkor at
28mm:
PC-Nikkor 28mm f/4.0 | PC-Nikkor 28mm f/3.5
PC-Nikkor at 35mm:
PC-Nikkor 35mm f/3.5
| PC-Nikkor 35mm f/2.8
PC-Nikkor at other focal length:
PC-Micro-Nikkor 85mm f/2.8D

| Relative: Various Nikkor wideangles at 28mm & 35mm focal length |

Credit: An array of four special application Nikkor lenses printed in a late '60 Nikkor Sales leaflet. Image has been retouched from an original scan.


| Message Board | for your Nikkor Optics in a shared environment
| Message Board | Specifically for Dispose or Looking for new/used Nikon/Nikkor photographic equipment

seperator line


weblibrary.gif   Nikon F | Nikon F2 | Nikon F3 | Nikon F4 | Nikon F5 | Nikon F6 | Nikkormat / Nikomat | Nikon FM | Nikon FE/ FA | Nikon EM/FG/FG20 | Nikon Digital SLRs | Nikon - Other models

Nikon Auto Focus Nikkor lenses:- Main Index Page
Nikon Manual Focus Nikkor lenses:- Fisheye-Nikkor Lenses - Circular | Full Frame | Ultrawides Lenses - 13mm15mm18mm20mm | Wideangle Lenses - 24mm28mm35mm | Standard Lenses - 45mm 50mm 58mm | Telephoto Lenses - 85mm105mm135mm180mm & 200mm | Super-Telephoto Lenses - 300mm 400mm 500mm 600mm 800mm 1200mm |

Nikkor Link.jpg

Index Page
  Special Application lenses:
Micro-Nikkor Lenses - 50mm~55mm -60mm 85mm -105mm 200mm Micro-Zoom 70-180mm
Perspective Control (PC) - 28mm 35mm PC-Micro 85mm
Dedicated Lenses for Nikon F3AF: AF 80mm f/2.8 | AF 200mm f/3.5 EDIF
Depth of Field Control (DC): 105mm 135mm
Medical Nikkor: 120mm 200mm
Reflex-Nikkor Lenses - 500mm 1000mm 2000mm
Others: Noct Nikkor | OP-Nikkor | UV Nikkor 55mm 105mm | Focusing Units | Bellows-Nikkor 105mm 135mm
Nikon Series E Lenses: 28mm35mm50mm100mm135mm | E-Series Zoom lenses: 36~72mm75~150mm70~210mm


MF Zoom-Nikkor Lenses: 25~50mm | 28~45mm | 28~50mm | 28~85mm | 35~70mm | 36~72mm E | 35~85mm | 35~105mm | 35~135mm | 35~200mm | 43~86mm | 50~135mm | 50~300mm | 70~210mm E | 75~150mm E | 80~200mm | 85~250mm | 100~300mm | 180~600mm | 200~400mm | 200~600mm | 360~1200mm | 1200~1700mm

Tele-Converters: TC-1 | TC-2 | TC-200 | TC-201 | TC-300 | TC-301 | TC-14 | TC-14A | TC-14B | TC-14C | TC-14E | TC-16 | TC-16A | TC-20E

Recommended links to understand more technical details related to the Nikkor F-mount and production Serial Number:
http://rick_oleson.tripod.com/index-153.html by: my friend, Rick Oleson
http://www.zi.ku.dk/personal/lhhansen/photo/fmount.htm by: Hansen, Lars Holst
http://www.mir.com.my/rb/photography/hardwares/nikonfmount/lens2.htm
http://www.photosynthesis.co.nz/nikon/serialno.html

Recommended Reading Reference on Nikon cameras and Nikkor lenses

| Back | Main Index Page of Nikkor Resources
| Back | Main Index Page of Pictorial History of Nikon SLRs

Search.gif about this photographic web site

MIR Logo.gif
Home - Photography in Malaysia

leofoo.Gif

Credit: To all the good people who has contributed their own experience, resources or those who are kind enough granting us permission to use their images appeared in this site Note:certain content and images appeared in this site were either scanned from official marketing leaflets, brochures, sales manuals or publications published by Nikon over the years and/or contribution from surfers who claimed originality of their work for educational purposes. The creator of the site will not be responsible for may discrepancies arise from such dispute except rectifying them after verification."Nikon", "Nikkormat", "Nippon Kokagu KK" & "Nikkor" are registered tradename of Nikon Corporation Inc., Japan. Site made with an Apple IMac.